Two years ago, yer man Scullion managed to use his contacts to secure an early copy of the script being used for Sony’s E3 2015 conference.
Barring a few last-minute changes, it was pretty much 100% accurate.
People have been asking me if I’ve been able to secure a copy this time around, and if so whether it’s the real deal again.
Does the Pope shit in the woods?
ELECTRONIC ENTERTAINMENT EXPO 2017 CONFERENCE SCRIPT
– HIGHLY CONFIDENTIAL – DO NOT DISTRUBUTE TO ANYONE ON THE PRE-APPROVED RECIPIENT LIST
VENUE: Shrine Auditorium, Los Angeles
DATE: June 12, 2017
TIME: 18:00 PT
[FOLLOWING THE SUCCESS OF LAST YEAR’S CONFERENCE, THIS YEAR’S TO ALSO START 15 MINUTES LATE AND OPEN WITH A FULL ORCHESTRA PLAYING MUSIC NOBODY’S EVER HEARD BEFORE AND THEREFORE CAN’T RELATE TO YET]
[AFTER 45 MINUTES OF ORCHESTRA MUSIC ANDREW HOUSE, PRESIDENT AND GLOBAL CEO OF SIE TO TAKE STAGE]
ANDREW HOUSE
Good evening everyone, and welcome. A very special thank you to our full 120-piece orchestra. That music isn’t actually from a game, we just wanted to build the hype.
Thank you also to the millions of gamers watching live online throughout the world, and the hundreds and thousands of those currently recording reaction videos for YouTube. Here is a photo of Spyro The Dragon so you can all scream “WHAAAAAAAT” in a needlessly overdramatic way.
[ANDREW HOUSE TO SHOW POLAROID OF NEW SPYRO THE DRAGON ARTWORK. NO SPYRO GAME IS TO BE ANNOUNCED OR MENTIONED AT ANY OTHER POINT DURING THE SHOW]
A final thank you must also go to the 200 Sony fans we’ve flown especially here to ensure that the worldwide audience will hear plenty of whoops and cheers even if we end up showing a load of old arse.
Today marks an important turning point for the PlayStation brand, as we move on to the next phase of our PlayStation cycle.
You see, for the past two decades, we’ve followed the same pattern. We start as underdogs, say we’re listening to what the fans want, eventually become a huge success, then piss it all away again by getting cocky… before saying we’re listening again.
It happened when we threw away the success of the PS2 by making the PS3 a prick to develop for, then fixed things with the PS4 by saying we were listening to gamers and developers alike.
Now, with the PS4 Pro’s struggle to do ‘proper’ 4K, that ridiculous Farpoint gun accessory that shat on everyone who bought our overpriced re-released PS Move controllers, and last week’s comments by Jim Ryan suggesting we won’t do backwards compatibility because old games look horrible, we’re very much back in the ‘Cocky Sony’ phase where we stop listening to our customers again.
With that in mind, I’d like to introduce the new slogan for the PlayStation brand going forward:
Let’s start today’s presentation the same way we started last year’s: with a return to the mythology of the God Of War series.
[NEW GAMEPLAY FOOTAGE OF ‘GOD OF WAR: THE GOD OF US’ TO BE SHOWN. AN EXTRA CAMERA TO BE POINTED AT THE MAN PLAYING THE GAME TO PROVE IT’S DEFINITELY REAL, EVEN THOUGH THE INTERNET WILL CONTINUE TO ARGUE IT ISN’T ANYWAY]
ANDREW HOUSE
Following the success of Journey, The Last Of Us and The Last Guardian, it’s become clear to us that games in which you’re accompanied by someone else tend to sell really well. Because everyone loves escort missions.
For this reason, Kratos is no longer adventuring alone. In God Of War: The God Of Us, he’ll be accompanied on his travels by his son, Todd Of War.
While previous God Of War games were based on Greek mythology, the new God Of War will instead be based on Norse mythology.
This allows us to explore new gods, like the hammer-wielding Thor, the feather-cloaked goddess Freyja and Heimdallr, the ‘whitest of the gods’ (because we want to keep the alt-right on our side to prevent another PSN hack).
It’s also mainly because Greece’s economy is on its arse now, whereas there are 27 million Scandinavians who may be tempted to chuck some of their wealth our way if we pay them attention.
Because we’re still keen on announcing games at E3 way before they’re ready, God Of War: The God Of Us will be available on PS4 and PS4 Pro in summer 2019.
Next, I’d like to welcome Neil Druckmann to the stage.
[NEIL DRUCKMANN OF NAUGHTY DOG TO TAKE THE STAGE]
NEIL DRUCKMANN
Hi, everyone. It’s time to return to post-apocalyptic America. No, I’m not talking about [TRUMP JOKE TO BE DECIDED BY WRITERS DEPENDING ON WHAT HE’S TWEETED THAT MORNING], I mean The Last Of Us Part II.
[TRAILER FOR THE LAST OF US PART II TO RUN. IT WILL CONSIST OF JOEL AND ELLIE STARING AT EACH OTHER FOR FOUR WHOLE MINUTES WHILE A SINGLE GUITAR PLAYS A SAD SONG IN THE BACKGROUND. TRAILER TRANSCRIPT FOLLOWS BELOW]
JOEL
Well kiddo, I’ve done a full check. I can’t find anyone else around. You’ve killed everyone you were angry with, as per the previous trailer.
ELLIE
There’s nobody left?
JOEL
No. You’ve single-handedly murdered the entire human race using stealth.
ELLIE
But I kept bumping into tables and knocking glass bottles over.
JOEL
Nobody heard it for some reason. Everyone’s dead now.
ELLIE
So… that means…
JOEL
Yup. You and I are The Last Of Us™.
[ELLIE GASPS]
JOEL
…Part II™.
NEIL DRUCKMANN
The Last Of Us Part II will see Joel and Ellie wander the country, laying down more ladders and getting involved in more dangerous situations that require them to use a bow and arrow really badly.
Don’t worry though, because it won’t just be the first game all over again. Last time they saw giraffes but this time they’ll see elephants, so it’s a completely new experience.
The Last Of Us will be released in November 2020. Pre-order the game now and you’ll get a selection of exclusive Naughty Dog skins, allowing you to replace Joel and Ellie with Nathan Drake and Crash Bandicoot instead.
ANDREW HOUSE
Neil Druckmann, everybody.
[NEIL DRUCKMANN TO LEAVE THE STAGE BY HIDING BEHIND A COFFEE TABLE FOR 20 MINS, BEFORE GETTING BORED AND THROWING A MOLOTOV COCKTAIL INTO THE AUDIENCE THEN RUNNING AWAY]
ANDREW HOUSE
So far we’ve shown you two games that you’ve been telling us for a number of years that you want.
Now, in keeping with our new slogan, it’s time for us to tell you what you actually want. Please welcome Mark Cerny to the stage.
[MARK CERNY TO TAKE THE STAGE. SOUND CREW NOTE: MR CERNY INSISTS THAT WE ALWAYS TURN ON THE ‘GENTLE VOICE’ MICROPHONE FILTER WHEN HE SPEAKS SO THAT HE SOUNDS LIKE THE TIMID GUY WITH THE MOUSTACHE FROM FAMILY GUY]

MARK CERNY
Well hello there, y’all. I’m so excited that y’all managed to come here today.
We’ve got little bowls of cookies on the table over there if any of y’all get peckish. Don’t worry if you don’t. It’s alright.
I can always take the spare ones home and feed them to my lil’ dog Hank. I made sure not to put any chocolate chips in the cookies, so he can eat them without getting poorly.
He really is an eager lil’ pup, is my Hank. I’m sure you’d love him. He’s just a big ol’ cuddle machine.
ANDREW HOUSE
Mark, if you don’t mind, could we get on with the presentation?
MARK CERNY
Oh sure, Andrew. I apologise if I got your lil’ lapel flappin’ with frustration.
I guess sometimes I get a lil’ carried away when I’m talkin’ about Hank. He always puts a big smile on my face when I get home after a busy day’s programmin’.
Why, I remember once he…
ANDREW HOUSE
Fucking HURRY UP and talk about Knack 2, mate.
MARK CERNY
Well, I do declare.
[MARK CERNY TO TAKE OUT HANDKERCHIEF AND DAB HIS MOISTENED BROW WITH IT]
So, ladies and gentlemen, I’d like to show you more of Knack 2, the sequel to the popular PlayStation 4 launch title.

The first Knack sold around 1.75 million copies, and we’ve decided that’s because you all loved it and not because there was fuck all other original first-party IP to buy on day one.
Because of this, we’ve also decided y’all are all desperate for a sequel, so here it is. Y’all can’t say we aren’t good to y’all.
Knack 2: Return Of The Knack will be released on PS4 and PS4 Pro in February 2021. I really hope all y’all spend your pennies on it and make me and Hank feel all warm in our tummies.
It definitely won’t be shit like the first one, honest.
ANDREW HOUSE
Bold words, and who can argue? Not you, dear viewers. Not a single fucking one of you. Or else.
Let’s move on to a game many of you have been anxiously awaiting. It’s one of the biggest PS4 exclusives and it’s going to blow you away.
Please join me in giving a very warm welcome to Tetsuya Nomura.

[TETSUYA NOMURA TO TAKE THE STAGE, DRESSED LIKE MICKEY MOUSE]
TETSUYA NOMURA [VIA TRANSLATOR]
Hello, boys and girls. I am here to finally share with you the third instalment in the Kingdom Hearts series, Kingdom Hearts III.
Actually, it’s more like the 12th instalment because of all the spin-offs and remakes, but who’s counting? Ha ha ha!
I am. I’m counting. It’s exactly twelve.
Anyway, please enjoy this brand new trailer.
[TRAILER FOR KINGDOM HEARTS III: 426+32 SLUMBER OF CURIOUS HD 3.2 TO BE SHOWN]
TETSUYA NOMURA
As you can see, Kingdom Hearts III: 426+32 Slumber Of Curious HD 3.2 will be the most detailed game in the series to date, and will feature a brand new selection of Disney worlds to explore.
You may have noticed that the game has been delayed a while. This is because we’ve had to cancel what we had and start all over again.
You see, originally we had decided on the game’s new worlds based on fan feedback, with the likes of Tangled, Frozen and Big Hero 6 among the new areas most commonly requested.
However, after Sony told us its new motto, we decided to follow its ethos and start from scratch, choosing the worlds we wanted to do instead because, frankly, we know better and will tell you what you want.
With that in mind, I’m sure you will be excited to explore the all-new worlds based on such classic Disney properties as Brother Bear, Mars Needs Moms, The Santa Clause 3: The Escape Clause, The Lizzie McGuire Movie and that old documentary from the ‘50s where they shoved lemmings off a cliff.

We are still working on Kingdom Hearts III: 426+32 Slumber Of Curious HD 3.2 and it will be a little while longer before we can show you any in-game footage.
Please continue to be excited though. I am sure you will love the game when it is eventually released in the fall of 2341.
ANDREW HOUSE
Thank you, Nomura-san.
Now, some of you may remember a couple of years ago we dropped a couple of major bombshells: the Final Fantasy VII remake and Shenmue III. Well, its Kickstarter.
With that in mind, I have another massive announcement for you, and it’s a title that many gamers have been desperate to see for a long, long time.
[TRAILER FOR H3: HALF-LIFE REVOLUTION TO BE SHOWN. LEAVE TIME AT THE END OF THE VIDEO FOR THE INEVITABLE CANNES-STYLE FIVE MINUTE STANDING OVATION AFTER THIS. PEOPLE WILL FUCKING LOVE US AFTER WE REVEAL THIS ONE]
ANDREW HOUSE
That’s right! It’s a meme no longer: Half-Life 3 is a reality and it’s coming exclusively to Steam next year.
Sadly, this means it won’t be coming to any PlayStation systems. We tried, but Valve were adamant that it would need to be a Steam-only release.
The only reason we’re showing it here is because when people look back at the end of the week and try to decide who ‘won’ E3, they’ll remember we had the biggest bombshell and award it to us.
On a similar note, we have another Kickstarter project we’d like to promote and claim as our own. Have a look at this:
The AccuGrill is (probably) going to change the way you do your barbecuing, thanks to its innovative ‘lifting the grill up slightly’ concept.
No longer do you have to physically lift your grill lid up to see your steak cooking, now you can prop it up with a sort of ruler thing. Also, please ignore the fact that in the video the man says he’s been doing some ‘cornholing’ – he doesn’t know it means anal sex.
Truly the AccuGrill will be the Shenmue III of the barbecue world, which is why we’re putting our full backing behind it. Which means we’re going to tell you about it then let you fund it so we don’t have to.
We’ve got a couple more announcements for you before we go today. Firstly, remember PlayStation VR?
Well, start forgetting it. We can’t think of any games that don’t involve you standing or sitting that won’t have half our players decorating their walls with vomit, so we’re going to do a Vita and ditch it early.
Far more important is our BRAND NEW hardware that we’ve come up with all by ourselves without copying anyone.
Just like the DualShock 3 controllers introduced motion control with no influence from any other company, and just as the PS Move controllers took it further and definitely didn’t look like any other remotes, our latest hardware is another truly revolutionary step that will transform the way you look at games forever.
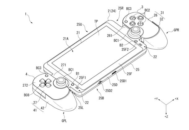
Ladies and gentlemen, I give you the PlayStation Shift.
The PlayStation Shift can be plugged into your TV and used like a normal console when you’re at home.
The twist, though, is that if you need to leave the house you can remove it from its dock and ‘shift’ from home console to handheld mode.
The PlayStation Shift is the most original thing we’ve created in years, even more original than that time Apple announced Apple Music and pretended they’d invented both internet radio and Spotify at the same time.
Finally tonight, I have one more announcement. This year we brought you revamped remakes of classic PlayStation titles. PaRappa The Rapper Remastered, WipEout Omega Collection and Crash Bandicoot: N Sane Trilogy have all been warmly received by press and players alike (except PaRappa)… so we’re doing it again.
Coming in July 2019, we’ve got three more titles based on classic PlayStation titles from yesteryear.
Tobal No 1 HD Edition, 2Xtreme Remastered and This Is Football II: Extra Time will bring back three brilliant PlayStation games we’ve decided you want to see again.
God, you people are so fucking lucky. We need to draw this presentation to a close because I’m so excited about these announcements my erection is in danger of bursting a trouser button and taking out someone’s eye in the front row.
Ladies and gentlemen, today we’ve given you a look at the future of PlayStation. We’ve stunned you with new God Of War and The Last Of Us games, discussed the next chapters in the Kingdom Hearts and Knack series, and successfully pretended the Vita doesn’t exist.
We’ve shown you a great little device for keeping an eye on your meat while using a barbecue, and we’ve revealed the return of Tobal No 1, 2Xtreme and This Is Football II.
I don’t think I’m exaggerating when I say we are the greatest people on the fucking planet, and we know exactly what’s best for you.
Thank you, and enjoy the rest of the expo.
If you want to help fund further hard-hitting investigative journalism, please consider contributing to my Patreon fund. The money helps go towards site maintenance, ensuring there are no ads, and I also update my Patreon feed with regular behind-the-scenes goodies.
Alternatively, if you’re a UK reader and can’t afford to support me on Patreon, please do your normal Amazon UK shopping via this link: it won’t cost you any extra, and Amazon will pay me a percentage because I sent you there.







Todd of War lol, that’s fucking gold. No swan-diving Kojima though?
LikeLike
Return of the Knack had me in stitches 😂
LikeLike
Really stoked for This is Football 2! I wish I was there!
LikeLike